华体会官方版网站登录入口,华体会(中国)
公司介绍
新闻中心
组织机构
服务理念
售后服务
联系我们
产品中心
xwzx.png

新闻中心

阀门标准

您的位置: > 新闻中心 > 阀门标准 >
QB/T 1199-2014浮球阀标准规范
来源:www.yysdashuju.com作者:华体会官方版网站登录入口,华体会(中国)更新时间:2023-03-07 02:03:03
前言
本标准按照GB/T 1.1 — 2009给出的规则起草。
本标准是对QB/T 1199 —1991《浮球阀》的修订。本标准与QB/T 1199 —1991相比,主要变化如下:
——范围作了修改,扩大了产品公称尺寸范围;
——增加了典型结构示意图;
——对产品的主要零件材料作了规定;
——增加了产品低压密封性能要求;
——增加了产品最小开启压力和关闭压力。
本标准由中国轻工业联合会提出。
本标准由全国五金制品标准化技术委员会建筑五金分技术委员会(SAC/TC174/SC3)归口。
本标准起草人:郑雪珍、金宗民、林岳华、林补生、苏宗尧、陈晓丹、曾天生、王朝阳、何烙辉、 方亚平、杨志雄、颜伟国、严荣杰、忻成梁、周礼、俞伟、全红、严德勇。
本标准所替代标准的历次版本发布情况为:——QB/T 1199—1991。 浮球阀 1、范围
本标准规定了浮球阀的结构型式、要求、试验方法、检验规则、标志、包装、运输和贮存。
本标准适用于工作温度小于80℃、工作介质为水的公称压力不大于的内、外螺纹连接浮球阀
(公称尺寸不大于100 mm)和法兰连接浮球阀(公称尺寸ZW: >100mm〜300mm)。
注:该阀可用于工业及民用管路上,作为自动开启和关闭管路,控制水箱、水池、水塔的液位。
2、规范性引用文件
下列文件对于本文件的应用是必不可少的。凡是注日期的引用文件,仅注日期的版本适用于本文件。
凡是不注日期的引用文件,其最新版本(包括所有的修改单)适用于本文件。
GB/T1176铸造铜及铜合金
GB/T 2828.1 —2012计数抽样检验程序第1部分:按接收质量限(AQL)检索的逐批检验抽样计划
GB/T 3280不锈钢冷乳钢板和钢带
GB/T4240不锈钢丝
GB/T 5231加工铜及铜合金牌号和化学成分
GB/T 7306.2 55°密封管螺纹第2部分:圆锥内螺纹与圆锥外螺纹
GB/T 7307 55°非密封管螺纹
GB/T 12225通用阀门铜合金铸件技术条件
GB/T 15530.1铜合金整体铸造法兰
GB/T 20078铜和铜合金锻件
HG/T 2810往复运动橡胶密封圈材料
3、结构型式
浮球阀的典型结构型式如图1、图2、图3所示。
图1内螺纹连接浮球阀

1、阀体;
2、导向爪;
3、密封垫;
4、柱塞;
5、弹簧;
6、连接螺母;
7、密封圈;
8、后盖;
9、小阀体;
10、密封片;
11、小柱塞;
12、杠杆;
13、浮球。
图2外螺纹连接浮球阀

1、接头;
2、压紧螺母;
3、密封垫;
4、阀体;
5、陶瓷阀芯组件;
6、杠杆;
7、浮球。
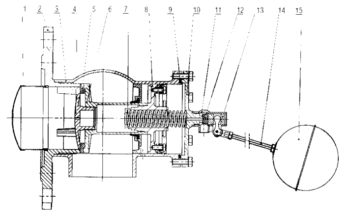
图3法兰连接浮球阀

1、过滤网组件;
2、法兰;
3、阀体;
4、导向爪;
5、密封垫;
6、柱塞;
7、弹簧;
8、活塞片;
9、密封圈;
10、阀盖;
11、小阀体;
12、密封片;
13、小柱塞;
14、杠杆;
15、浮球。
4、要求
4. 1材料
浮球阀主要零件材料应符合表1规定,在保证产品性能的条件下,可用其他材料代替。
表1零件材料
零 件 材 料 牌 号 执行标准编号
阀体、阀盖、活塞片、柱塞、
小柱塞、杠杆、小阀体、法兰导向爪
铅黄铜 ZCuZn40Pb2或HPb59-l GB/T 1176
GB/T 5231
弹簧 不锈钢 12Crl8Ni9 GB/T 4240
密封件 丁腈橡胶 NBR HG/T2810
浮球、杠杆 不锈钢 06Crl9Nil0 GB/T 3280
4.2性能
4.2.1壳体强度
将浮球阀密封面封闭,从浮球阀进水端通入规定压力的水,达到规定的持续时间后,受水压部分的阀体和缸体工作部位应无渗漏 、变形。详见表2。
4.2.2密封性能、低压密封性能
将浮球阀置于开启状态,从进水端通入规定压力的水,使浮球在水的浮力作用下将阀门关闭,达到 规定的持续时间后,从出水口(包括小孔出水口)处目测密封面应无渗漏。详见表2。
表2阀门的壳体和密封。
公称尺寸£W/mm 试验类型 试验水压/MPa 最短试验持续时间/S
 
^50 壳体强度试验 0.9 土 0.1 15
65〜200 60
>200〜300 180
^200 密封性能试验 0.6 土 0.1 15
>200〜300 30
^200 低压密封性能试验 0.04 15
>200〜300 30
4.2.3浮球密封性能
将浮球阀所配浮球浸入60 °C〜70 °C的水中15 s,浮球外表应无渗漏。
4.2.4最小开启压力
浮球阀处于全关闭工作状态下,开启小孔密封面,逐渐升高进水口压力,在柱塞刚刚打开的瞬间, 测得的进水口压力(即最小开启压力)不应超过0.04 MPa。
4.2.5关闭压力
浮球阀处于全开工作状态下,关闭小孔密封面,在柱塞刚刚关闭的瞬间,测得的进水口压力(即关 闭压力)应为0.01MPa〜0.6 MPa。
4.2.6浮球浸入水中的体积
在公称压力下,浮球阀关闭时,浮球浸入水中的体积不应大于浮球总体积的1/2。
4.3管螺纹
4.3.1 管螺纹尺寸应符合GB/T 7306.2或GB/T 7307中的规定。
4.3.2管螺纹表面粗糙度不应大于6.3 pm。
4.3.3管螺纹表面不应有凹痕、断牙等明显缺陷。
4.4法兰
4.4.1法兰表面粗糖度及a不应大于3.2 pm。
4.4.2法兰密封表面不应有气孔、缩孔等缺陷。
4.4. 3法兰连接尺寸应符合GB/T 15530.1的规定。
4.5铸件
铜合金铸件应符合GB/T 12225的规定。
4.6锻件
铜合金锻件应符合GB/T 20078的规定。
4.7零件
4.7.1密封面表面不应有裂痕、气孔等缺陷,密封面表面粗糙度不应大于3.2 pm。
4.7.2浮球表面不应有明显的影响使用性能的凹坑。
4.8开启高度
浮球阀开启高度不应小于阀门实际通径的1/4。
4.9装配
产品装配应牢固,活动部位应灵活、无卡阻。
5、试验方法
5.1壳体强度、密封性能、低压密封性能、浮球密封性能、最小开启压力、关闭压力、浮球浸入水中体积应在相应的压力试验台上,用目测法检查。
5.2管螺纹尺寸用相应精度的管螺纹量规检查。
5.3管螺纹表面粗糙度、法兰表面粗糙度、密封面表面粗糙度用粗糙度标准块对比检查,有争议时用轮廓仪进行评定。
5.4管螺纹表面质量、法兰表面质量、零件密封面表面质量、浮球表面质量用目测法检查。
5.5法兰连接尺寸用相应精度的量具检查。
5.6铜合金铸件按 GB/T 12225规定的方法检测。
5.7铜合金锻件按 GB/T 20078规定的方法检测。
5.8浮球阀开启高度用游标卡尺检测。
5.9装配采用手感与目测相结合的方法检测。
6、检验规则
6.1检验分类
产品检验分出厂检验和型式检验。
6.2组批
由相同的材料、工艺、设备连续制造的同一规格的产品组成一批。
6.3出厂检验
6.3.1每批产品经制造厂检验合格后方可出厂。
6.3.2出厂检验的抽样按 GB/T 2828.1 — 2012规定的方法进行,采用一般检查水平I,正常检验一次抽
样方案。
6.3.3出厂检验项目、要求、试验方法、不合格分类及接收质量限AQL见表3。
6.3.4经检验所有检验项目均合格,则判定该批产品为合格;凡有1项以上(含1项)不合格,则判定该批产品不合格。
表3出厂检验
检验项目 要求 试验方法 不合格分类 AQL
壳体强度 4.2.1 5.1 A 1
密封性能 4.2.2 5.1    
低压密封性能 4.2.2 5.1    
浮球密封性能 4.2.3 5.1    
管螺纹尺寸 4.3.1 5.2 B 4
螺纹表面质量 4.3.3 5.4 C 6.5
法兰表面质量 4.4.2 5.4    
法兰连接尺寸 4.4.3 5.5    
浮球表面质量 4.7.2 5.4    
装配 4.9 5.6 B 4
标志、包装 7.1、7.2 - C 6.5
6. 4型式检验
6.4.1 有下列情况之一时,应进行型式检验:
a) 新产品或老产品转厂生产的试制定型鉴定;
b) 正式生产后,如结构、材料、工艺有较大改变,可能影响产品性能时;
c) 产品停产6个月后,恢复生产时;
d) 正常生产每12个月至少进行1次;
e) 出厂检验结果与上次型式检验有较大差异时;
f) 国家质量监督机构提出型式检验的要求时。
6.4.2型式检验采取从生产厂质量检验部门检查合格的库存浮球阀中随机抽取的方法或从己供给用户 但未使用过的产品中随机抽取的方法。每一规格浮球阀供抽样的最少台数和抽样台数按表4的规定。到用户抽样时,供抽样的台数不受表4的限制,抽样台数仍按表4的规定。对整个系列进行质量考核时,抽检部门根据情况可从该系列中抽取2台〜3台典型规格进行测试,每个规格供抽样的台数和抽样台数仍按表4的规定。
表4抽样台数
公称尺寸 供抽样最少数量/台 抽样数/台
50 30 3
65 〜300 20
6 .4.3型式检验项目为第4章的所有要求。
6.4.4 每台浮球阀的壳体强度和低压密封性能应达到4.2.1、4.2.2的规定,如果有一台、项不合格,则判定为不合格。其他检验项目,若被检产品中有一台、项不合格,可从供抽样的产品中再抽取3台,若再次检验仍不符合,则判定为不合格。
7、标志、包装、运输、贮存
7.1标志
7.1.1产品上应标有如下标志:
a)商标;
b) 公称尺寸;
c) 公称压力。
7. 1.2包装盒或包装箱上应标有下列标志:
a) 产品名称、规格、代号;
b) 产品数量、质量;
c) 产品商标或公司名称、地址。
d) 产品执行标准编号。
7. 1.3产品合格证上应标有检验员印记和出厂日期。
7.2包装
7.2.1浮球阀在试验后,包装前应清除内外油污、残水、杂物等。
7.2.2包装应保证产品在正常运输和保管中不受损伤。
7.3运输
产品在运输过程中应轻搬、轻放,不应雨淋、受潮。
7.4贮存
产品应贮存在干燥的室内,堆放整齐;不应露天存放,以防止损坏和腐蚀。
您是第   位浏览者


Copyright ©2011-2022 华体会官方版网站登录入口,华体会(中国),版权所有。 沪ICP备11046016号-29 网站地图

销售电话:021-31001158

手机号码:13816746668 陈国辉/经理

电子邮件:klkvalves@126.com@126.com

主营产品:球阀,闸阀,蝶阀,截止阀,止回阀,调节阀

本周热门:不锈钢阻火器全天候呼吸阀气动球阀气动蝶阀气动刀闸阀气动调节阀电动球阀电动蝶阀电动刀闸阀电动调节阀不锈钢球阀不锈钢闸阀不锈钢截止阀不锈钢止回阀不锈钢电磁阀高压电磁阀高压球阀波纹管截止阀

官方网址:www.yysdashuju.com