放料阀工作原理(图)
放料阀(Discharge Valve)主要用于反应釜,储罐和其它容器的底部排料、放料、取样和无死区关断操作。借助于阀门底部法兰焊接于储罐和其它容器的底部,因此消除工艺介质通常在器出口的残留现象. 放料阀根据实际情况的需要,放料结构设计为提升和下降两种工作方式。
放料阀工作原理(图)
 |
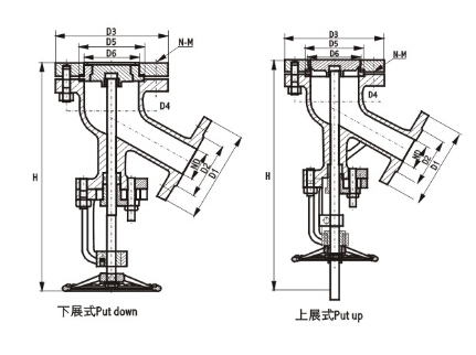
放料阀可分为上展式以及下展式两种类型,根据启闭行程不同,安装尺寸有大小上展式和下展式放料阀启闭行程小、安装高度较小。旋转杆结构形式安装高度最小。在启闭过程中柱塞只做旋转运动,它要依据带有启闭位置指示器来判断阀门的启闭和位置。
1、上展式放料阀为阀瓣向上运动阀门打开,打开时阀门需克服介质作用力,打开时较关闭力矩大。
2、下展式放料阀、柱塞式放料阀为阀瓣(柱塞)向下运动阀门打开,打开时运动方向与介质作用力相同,因而打开时较关闭力矩小。
|
放料阀结构原理
放料阀根据实际情况的需要,放底结构设计为平底型,阀体为V型,并提供提升和下降两种工作方式阀瓣。阀体内腔有耐冲刷、耐腐蚀的密封圈,在开启阀门瞬间,可以保护阀体不被介质冲刷,腐蚀,并对密封圈进行特殊处理,使表面硬度达到HRC56-62,具有高耐磨、耐腐蚀的功能,阀瓣密封根据需要时封面均堆焊有硬质合金,密封副采用线密封,保证密封的可靠性,并可防止结疤。同时采取短行程阀瓣的设计。
1、放料阀主要由阀体,阀瓣,密封圈,阀杆,支架,阀压盖组成。
2、操作方便,开启自由,运动灵活可靠;阀瓣装配维修简单,
3、密封结构合理,密封圈更换方便实用。
4、本类阀门在管道中一般应当水平安装。
相关原理: